Download FlowChart calcolo delle coppie di numeri che danno come somma in valore inserito ( Informatica )
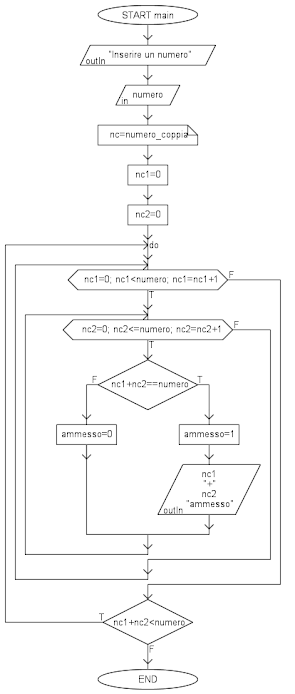
Esercizio: Dato un numero N calcolare e visualizzare tutte le coppie di numeri che danno per somma il numero stesso. Descrivere il problema mediante flow chart.
Funzionamento
Per trovare tutte le combinazioni che abbiano come somma il valore inserito si devono provare tutte le combinazioni esistenti che hanno come somma un numero minore del numero inserito
E.S.
input: 4
Combinazioni possibili: 1+3 | 2+2 | 0+4 | 3+1 | 4+0

Commenti
Posta un commento